| Sign In | Join Free | My ecer.com.ru |
|
Brand Name : Liang He
Model Number : AF
Certification : ISO 9001
Place of Origin : Henan,China
MOQ : 1 piece
Price : $19.3-26.5 per set
Payment Terms : T/T, D/A, D/P, Western Union, MoneyGram, L/C
Supply Ability : 8000 piece per month
Delivery Time : 1-7 day
Packaging Details : cartons,wooden cases
Warranty : 1 year
Customized support : OEM, ODM
Connection : Flange
Application : Connect Pipes
Color : Blue
Size : DN50-DN1600
Length : 118-300mm
Material : Ductile iron, Carbon steel
Pressure : PN10/PN16/PN25
Ductile Iron Slotted Epoxy HDPE PVC PE DI Pipe Quick Special Flange Adapter
Product Introduction
A flange adapter is a fitting used to connect pipes, fittings, or equipment to tightly connect two or more parts together through flanges and flange pads. Flange adapters are usually made of metal, which has high strength and corrosion resistance, and is widely used in industrial, construction, and mechanical fields.
The material and purpose of the product
The main materials of the flange adapter include carbon steel, stainless steel, cast iron, etc. The flange adapter is made of carbon steel for general industrial environments, while stainless steel is suitable for corrosive environments. The main use of flange adapters includes connecting pipes, valves, pumps and other equipment to ensure the tightness and stability of the system.
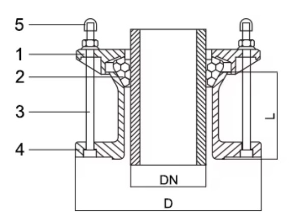
Product parameters

| NO | Name | Material | Quantity |
| 1 | Gland | GJS500-7 | 1 |
| 2 | Rubber sealing ring | EPDM | 1 |
| 3 | Bolt | Q235B,SS304,SS316L, etc | N |
| 4 | Body | GJS500-7 | 1 |
| 5 | Plastic cap | Plastic | N |
| Nominal diameter | OD range (mm) | L(mm) | D(mm) | Bolt | |
| Size | Quantity | ||||
| DN50 | 59-72 | 75 | 165 | M12*130 | 2 |
| DN65 | 72-85 | 75 | 185 | M12*130 | 2 |
| DN80 | 88-103 | 76 | 185 | M12*130 | 4 |
| DN100 | 93-117 | 78 | 218 | M12*130 | 4 |
| DN100 | 105-122 | 78 | 218 | M12*130 | 4 |
| DN100 | 108-128 | 78 | 218 | M12*130 | 4 |
| DN125 | 125-140 | 78 | 250 | M12*130 | 4 |
| DN125 | 132-146 | 78 | 250 | M12*130 | 4 |
| DN125 | 138-153 | 78 | 250 | M12*130 | 4 |
| DN150 | 155-175 | 80 | 272 | M12*130 | 4 |
| DN150 | 158-182 | 80 | 272 | M12*130 | 4 |
| DN175 | 192-210 | 85 | 312 | M12*130 | 4 |
| DN200 | 218-235 | 85 | 335 | M12*130 | 4 |
| DN225 | 235-252 | 85 | 355 | M12*130 | 4 |
| DN225 | 250-267 | 85 | 405 | M12*130 | 4 |
| DN250 | 265-280 | 90 | 405 | M12*130 | 6 |
| DN250 | 272-289 | 90 | 405 | M12*130 | 6 |
| DN300 | 315-332 | 90 | 460 | M12*130 | 6 |
| DN300 | 322-339 | 90 | 460 | M12*130 | 6 |
| DN350 | 351-368 | 110 | 510 | M16*180 | 8 |
| DN350 | 374-391 | 110 | 510 | M16*180 | 8 |
| DN350 | 386-415 | 110 | 510 | M16*180 | 8 |
| DN400 | 400-429 | 110 | 580 | M16*180 | 8 |
| DN400 | 410-436 | 110 | 580 | M16*180 | 8 |
| DN400 | 418-435 | 110 | 580 | M16*180 | 8 |
| DN400 | 425-442 | 110 | 580 | M16*180 | 8 |
| DN450 | 455-472 | 115 | 640 | M16*180 | 10 |
| DN450 | 476-493 | 115 | 640 | M16*180 | 10 |
| DN500 | 500-532 | 120 | 690 | M16*180 | 10 |
| DN500 | 527-544 | 120 | 690 | M16*180 | 10 |
| DN600 | 600-630 | 130 | 820 | M16*180 | 10 |
| DN600 | 630-647 | 130 | 820 | M16*180 | 10 |
| DN700 | 738 | 150 | 860 | M16*180 | 12 |
| DN800 | 842 | 150 | 975 | M16*180 | 12 |
| DN900 | 945 | 150 | 1075 | M16*180 | 14 |
| DN1000 | 1048 | 150 | 1205 | M16*180 | 14 |
| DN1100 | 1152 | 150 | 1305 | M16*180 | 16 |
| DN1200 | 1265 | 150 | 1435 | M16*180 | 16 |
| DN1400 | 1462 | 150 | 1635 | M16*180 | 18 |
| DN1500 | 1565 | 150 | 1750 | M16*180 | 18 |
| DN1600 | 1668 | 150 | 1860 | M16*180 | 20 |
Features
1. Flexibility: The flange adapter can easily connect different standard or size flanges, increasing the flexibility of the piping system.
2. Economical: In the case that the entire flange system does not need to be replaced, the connection can be realized through the flange adapter, which saves costs.
3. Sealing: Flange adapters usually use high-quality sealing gaskets to ensure the tightness of the joints.
4. Stability: The flange adapter is bolted to ensure the stability of the connection.
Product application scenarios
Flange adapters are widely used in various industrial fields, such as chemical, petroleum, pharmaceutical, food, etc. They ensure the tightness and stability of the piping system, and are suitable for high-temperature and high-pressure environments to meet different industrial needs.
Product display from different angles

Inventory display

Related Products

D-type large deflection Universal coupling joint Union threaded PTFE rubber joint
compensation joint rubber joint

Double flange limt Bellow expansion joint Butterfly valve Pipe repair clamp
expansion joint
|
|
Ductile Iron Flange Adapter Slotted Epoxy HDPE PVC PE DI Pipe Quick Special Images |